If you’re installing an EcoSmart Fire Grate or Heritage Grate into an existing masonry firebox, getting the clearances right is essential for safe, efficient operation. This guide covers minimum room sizes, furniture clearances and firebox insertion dimensions for every grate model in the range.

WARNING: Ensure that your fire is positioned away from flammable materials and other sources of ignition at all times. Pay very close attention to positioning the fire away from items that may move as a result of wind and drafts. For example curtains/paper and the like.

Install only after all gas connections or pipe lines have been disconnected and made safe by an appropriately qualified and licensed professional.

The floor must be made out of non-combustible material because any spillage on the model can reach the floor.

EcoSmart Fire Grates must be installed within a traditional masonry or existing firebox setting where you are converting the current source of fire whether natural gas or wood.

Minimum Room Sizes

Ensure that you pay attention to the Minimum Room Sizes below:

ModelBurnerMinimum Room
Heritage 251 x BK570 m3 [2,472 ft3]
Grate 301 x XL50080 m3 [2,825 ft3]
Grate 361 x XL70090 m3 [3,178 ft3]
Heritage 501 x XL900110 m3 [3,884 ft3]
Grate 181 x AB8/AB8(EN)116 m3 [4,096 ft3]

Clearances

Clearances to fixed and stable furniture items that are not susceptible to movement such as lounges or patio furniture must remain a minimum of 600 mm [23.6 in] away from the flame at all times.

Overhead clearances to items that are susceptible to movement (e.g. Curtains) must remain a minimum of 1,650 mm [65 in] away from the flame at all times.

In order to keep the heat from escaping through the flue, place a panel of non-combustible heat reflective material such as stainless steel across your flue opening.

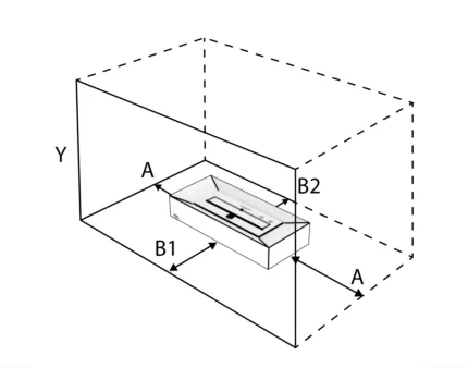
Inserting WITHIN a firebox setting

Height (Y)Front (B1)Rear*(B2)Sides (A)
640mm [25.2in] Minimum25mm [0.98in] Minimum12mm [0.5in] Minimum12mm [0.5in] Minimum

*Warning: Clearances to furniture and other combustible materials in front of the fireplace must be kept a minimum of 600mm (23.6”) away from the flame at all times.

Clearances Requirements - Bioethanol  Fireplace Grates 1

Applies to:

  • Grate 18, Grate 30, Grate 36
  • Heritage Grates